概略以下のような構成を考えました。
圧電板(ピエゾブザー用、piezo disc、piezoelectric ceramic)を使って、概ね50〜500Hzの振動を検知するセンサーを作る。
これをスマートフォンのマイク入力に入力し、音声周波数用のスペクトラムアナライザソフトでビジュアル化する。
場合によってはマイク用のプリアンプを作る(あるいは購入する)。
まずは、センサーです。
圧電板は、例えば100円ショップの薄型のキッチンタイマーに入っています(入っている物があります)が、
試しに買った100円ショップのキッチンタイマーの圧電板がエポキシ樹脂を塗りたくっていて剥がすのが大変そうだったので、
電子工作部品としてφ27mmの圧電ブザーエレメントを買ってきました
(圧電ブザーも接着されていましたが、幾らか剥がしやすそうです)。

さて、コンクリートマイクやピックアップマイクと違い、
低周波を効率良く拾いたいのでそれに合わせた構造にしないといけないでしょう。
販売されている圧電板は通常ブザー音(ピー音)用で、
人の耳の感度が最大となる周波数が3kHz程度なので、サイズによらず大体この位の共振周波数になっているようです。
実際に正弦波(10Vp-p)を入力してみましたが、1kHz以下はほとんど聞こえませんでした。
色々なものを置いたり押したりして音の聞こえ具合を聞いたり、デジタルオシロで出力電圧測定したりして概略の感じをつかみ、
(ほとんど勘だけで)以下のような構造にすることにしました。

中には上から、
・低反発スポンジ(青い部分。最初はゲルゴムにしようかと思ったんですが、
目的の周波数ではほとんど緩衝性が見られなかったので、低反発スポンジにしました。
軟らかめの隙間テープとか化粧用のパフでも良いのかもしれませんが、
ここは音響的に理想的そうだった低反発スポンジを使います。)
・重り(緑の部分。容器に対して固定せずスポンジで浮かせる。)
・圧電板(赤い部分。)
・ピックアップ突起(紺色の部分。)
重りは、圧電板のセラミックが割れないようになるべく軽い値として、
200Hzでもある程度効果のありそうだった下限である20〜30gとします。
真鍮で削り出すとして比重から概算すると、この重さに相当する大きさはφ27mm、厚み5mmくらいになります。
圧電板と接着する周辺の突起部を1mmとして、6mm厚位にします。
低反発スポンジの厚みを10mmの沈み込み5mm、センス突起は10mm長の沈み込み5mmとして、
機構部の全厚みは5+6+10=21mm。ケース内部空間の高さは15~18mmといったところです。
実際のケースを探して来て、これに合わせてセンス突起の長さを調整することにしました。
買ってきたのは、100円ショップの化粧詰め替え用のクリームケース。内部空間がφ32mm、深さ17mm。
まるで専用にあつらえたようなぴったりサイズ。
出力は恐らく0.1〜1mV程度になりそうな感じなので、プリアンプなしのマイク入力で何とかなりそうですが、
衝撃を与えると5V以上出るようですので、ダイオードでクランプする必要がありそうです。
次は表示ソフトです。自分で作るのは時間が掛かるので、極力使えそうなものを探してきます
(言い古された事ですが、DIYの極意は「なるべく作らないこと」です。如何にあるもので済ませるかが最重要となります。)。
さて、漏水音は比較的定常的に出ていそうですが、時々かなり大きな環境音が混じりそうなので、
リアルタイムとかピークホールドではなく、積分的な表示が良さそうです。
これに適うものとして、声紋表示ソフトを使うことにしました。
横軸が時刻、縦軸が周波数、色が強度というあれです。
現代人の目の「模様の規則性を見分ける能力」は耳の比ではないと思われますので、
恐らくこれでかなりの情報が得られるでしょう。
持ち運びが良いスマートフォンを使うことにして、フリーソフトを探しましたが、
50〜500Hzを拡大して表示できるのが見つからない。
Andoroidアプリにしてはかなり高額ですが、SpectralView Analyzer PROを使うことにしました。
「重り」は接着面のフラットさ以外は特に気を付けることもないので、真鍮からザクザクと削り出しました。
突っ切りの失敗を恐れてやや厚めに切りましたが、そこそこきれいに切れてるようです。
精度は要らないので厚み調整はなしです。
圧電ブザーから圧電板を取り出して、元々のはんだ付けがあまりに下手くそだったので少し修正して、
接着面をきれいにして、エポキシ接着剤で接着。
エポキシ接着の台紙にはクッキングシート(シリコーン樹脂加工耐油紙)を使いました、
ちょっと薄くて使いにくいけど、これはコストパフォーマンスがとても高いです。
あんまりいい加減にし過ぎて、うっかり重りの裏面に穴空けるのを忘れてしまいました(密閉型スピーカーじゃあるまいし)。
電線の出し口だけで空気の出入りは十分かしら。

突起も真鍮から削り出して、エポキシ接着します。
低反発スポンジをはさみで整形して(写真には写っていませんが、重りの周辺を包むようにスポンジはカップ状に切っています)
、組み立てて完成。

とりあえず100円ショップでアンプを買ってきました。
100円ショップのアンプはノイズがひどいと書かれていましたが、
試しにスピーカーにつないでみると、ノイズ音はほとんどしないようです。
最大音量で、回路や端子を触ったりするとノイズが大きくなるので、
回路的な問題と言うよりは周辺のノイズとシールドの問題なのかもしれません。
漏水探知するような場所は放射ノイズが少ないでしょうから、特にノイズは気にしなくても良いでしょう。
開けると、TDA2822MというICが入っていました。386相当の回路が2つ入りで、NJM2073の互換品だそうです。
最小1.8Vから動作、クロスオーバー歪が少ない、待機電力が小さい、と言うのが売りになっていました。
出力電流の最大値1A(2W)はハイパワー過ぎます。雑音はスペック上は2.5μV(BTL動作)とやや大きめです。
ゲインが低い・・・と思ったらクローズドループゲインのようです、帰還回路内蔵でこのゲインは高い方でしょう。
スピーカー用ではありますが、電池用には低電圧動作は有難いし、試しに使ってみましょう。
出力の電圧リミッターを付けようかとも思いましたが、電池動作なら3V以上は出ないから、直列に抵抗入れれば十分でしょう。
100Ω入れとけば3Vでも0.09Wなので、多分大丈夫でしょう。
ということで、出力に直列抵抗を100Ω挿入し、ノイズ低減用に電源にパスコンを追加する、程度の工作としましょう。
プラグを変えるのは面倒だし、ノイズを減らす意味でも直結はんだ付けかな。
シールドはおまじない程度にアルミテープを貼りました。

スマートフォン上の画像で見てみると、ややノイズが多いようですが、ボリュームを上げても増えないので、
最大ボリュームでの表示はまあ許せる感じです。ノイズがあっても画像なので音と違って我慢できます。
しかし、センサーを床に置いて水道を流してみるとはっきり分かりますが、戸外を車の通る音は今一視認しにくく、
ドアにセンサーを当てると良く反応しますが、コンクリート上ではほとんど反応できていない、というような状況でした。
どうも今回の目的には感度不足な感じです。
専用に回路を作らないとダメそうだ、ということで、オペアンプ(NJM4580DD)を使ってアンプを作りました。
何の工夫もない、ごく基本的な反転アンプ2段で、22k/1kと47k/2.2kで470倍。
発振防止に1段目の22kに並列に680pFを接続しました。
また、スマートフォンの保護に、出力に直列に100Ωを入れました。
不要とも思いましたが、バイアスが出るか分からないので、一応入出力に直列に10μFのセラコンを入れました。
以上、定数は考えるのが面倒なので、ほぼ先人からのコピーです。
昇圧回路でノイズを増やすのも嫌なので、電池4個動作としました。プラス側2個、マイナス側2個で±3V。
電池4個入るケースを100円ショップで探したら、USB充電バッテリーBOXと言うのがあったので、これを使います。
スペースも少ないし、基板作るのも面倒なので面実装部品を使いました。
ただし、入力と出力の抵抗だけは図体の大きい部品を使いました。
これは保護機能としての熱容量もありますが、主には(ケーブルにつなぐので)構造のばね的な効果を狙っています。

さて、動作チェックです。
センサーを机に置いて、机を指でこづいたら、電池なしでも反応します。
電池入れたら何もしなくても画面が真っ赤になりました。これはノイズが多いようです。
しかし、センサーを腕に載せてみると、途端にノイズが収まりました。
ノイズと思ったのは机の振動(空間の音波?)を拾っていたようです。
センサーを比較的静かな部屋のフローリングに置いてみました。
30cmくらい離れた場所で、指で微かに触れたりなでたりすると反応します。
指の摩擦に反応したのか、指を動かすための体の僅かな重心移動に反応したのかは良くわからないですが、
感度は十分な感じです。
センサーを玄関の土間に置いてみました。
身じろぎしたら強烈に反応します。じっとしていると、どうやら時計の秒針の音に反応しているようです。
これも直接の音なのか土間の振動なのか良くわかりません。
とりあえず、感度は良くて、回路のノイズは十分に少ないようです。
あとは現地で見てみるしかないでしょう。
<追記>
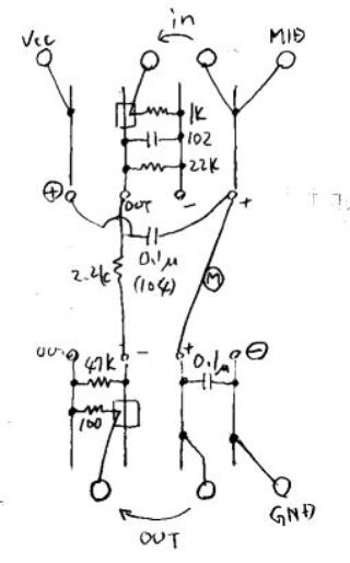
回路図的なもののご要望がありましたので以下に紹介します。
考える程の回路でもなかったので、配線図しか描いていませんが、別途4580のスペックを探して来て
DIPのtop-viewのピン配置と見比べて頂ければ分かると思います。左下が1ピン、左上が8ピンです。
Vcc(電源のプラス、丸の中に「+」)、電源中点(丸の中に「M」)、GND(電源マイナス、、丸の中に「−」)
を電池につなぎます。
「in」が入力でセンサーにつなぐ方、「out」が出力でスマートフォンにつなぐ方です。
inとoutの近くの四角は、絶縁材を意味していて、回路的には何も繋ぎません。
面実装部品をつなぐための実体図なので、リード線部品使うときは適宜描き変えてください。
説明にもありますが、少々増幅率が足りないようですので、22k/1kか47k/2.2kの比を大きくした方が良いと思います。
大きくし過ぎるとノイズだらけになるでしょうから、そこは実地で調整してください。
ただし、トリマーを使うとノイズが増えるかもしれないので、固定抵抗を付け替えた方が良いかもしれません。

今回、試しに聴診器も買ってみました(Muranaka製のカラーダブルスコープというやつです。
安物ですが、一応おもちゃじゃなく医療用のダブルタイプ、聞く方向に応じて開放穴の方向を膜ありと膜なしの
2つの方向に回せます。地面の音を聞くときは膜なしの方を使いました。
まずは聴診器、全く聞こえません。
次にセンサー。使えました。
ポンプは間欠的に動作している(ポンプの動作は大体5秒くらいの間隔で0.5秒間オンくらい)のですが、
ポンプ動作中の振動が拾えます。
あちこち計って回りました。
下の図は、最も反応が大きくなる場所でのものです。
ポンプの動作中以外の時刻にも音が拾えています(画面の端から端まで約23秒、左から右に時間が進んでいます)。
ポンプが動作すると強くなって、止まると次第に弱くなるのが見られます。

下の図はこのポイントから20cmほど離れた場所のものです。
明らかに差が見て取れます。かなり正確に場所が絞り込めるようです。
逆に1mくらい離れるとほとんど分からなくなります。見つけるまでにはかなりの回数測定しないといけませんでした。
あらかじめ埋設ルートが分かっていなければ見つけられなかったかもしれません。
もう少し感度が良い方が探す効率が良かったでしょう。
改めて、反応が最大になるポイントで聴診器を使ってみましたが、やはり何も聞こえませんでした。
予想以上に聴診器は使えませんねぇ。電子回路の効果は大きいようです。

と言う訳で、場所は恐らく絞り込めたと思うのですが、
まずいことにワイヤーメッシュ入りのまともな(厚めの)施工のコンクリートの下ということが分かりました。
これは業者に頼むしかないかなぁ、暫く悩んでみます。
自分で掘りました。記事はこちら→ 「漏水配管の修理(コンクリはがし)」